x
Send Your Inquiry Today
Quick Quote
  • 1.1-Model-micro relay
  • 1.2-Model-40 amp automotive relay
  • 1.2-Model-40 amp automotive relay
  • 1.4-Model-40 amp 5 pin relay
  • 1.4-Model-40 amp 5 pin relay
  • 1.6-Model-spst automotive relay
  • 1.7-Model-jd1912 12v 40a relay
  • 1.8-Model-miniature relay 12v
  • 1.1-Model-micro relay
  • 1.2-Model-40 amp automotive relay
  • 1.2-Model-40 amp automotive relay
  • 1.4-Model-40 amp 5 pin relay
  • 1.4-Model-40 amp 5 pin relay
  • 1.6-Model-spst automotive relay
  • 1.7-Model-jd1912 12v 40a relay
  • 1.8-Model-miniature relay 12v
Model: FLS820

Automotive Micro Relay

  • 40A switching capability
  • It has five contact forms
  • Various mounting terminations available
  • Dust protected type and sealed type available
  • Outline dimensions: 25.0X27.4X28.4mm

Foocles Popular Auto Relay Strengths

Cost-Effectiveness
Cost-Effectiveness

As our most widely produced auto relay, every component has been carefully considered to provide the best auto relay at the lowest cost.

Compact Size
Compact Size

It can be easily integrated into the electrical fuse relay box to reduce space pressure inside the Vehicles or Boats.

Multiple Contact Forms
Multiple Contact Forms

This model of auto relay can produce 1A, 1B, 1C, 1U, and 2A contact forms to suit different usage requirements.

Widely Applicable
Widely Applicable

It is often used in fog light control, seat heating, power management systems and ABS in automobiles.

Consistent Auto Relay

Each of our auto relays undergoes multiple stages of testing during production to prevent defective products from reaching our customers.

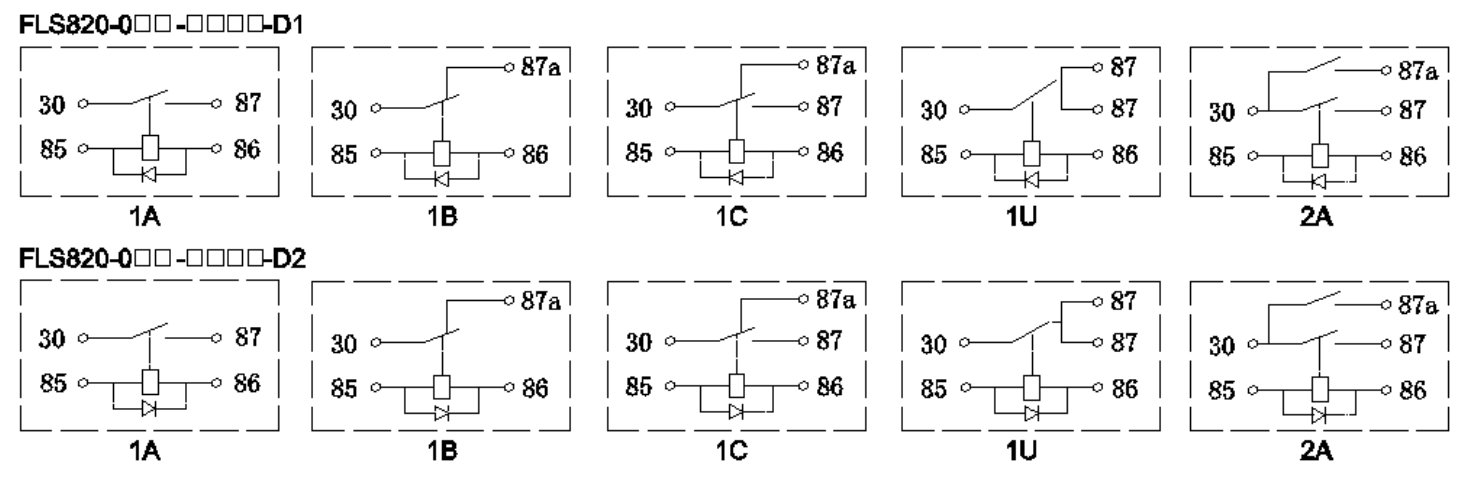
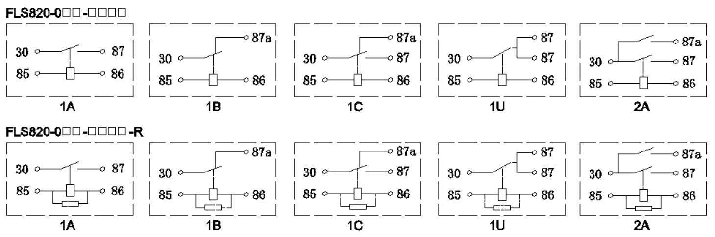
Contact Form1A, 1B, 1C, 1U, 2A
Contact Material  AgSno2
Max,Operating Current40A
Max.Operating Voltage27VDC
Rated Load(Resistive load)1A: 40A 13.5VDC  20A 27VDC    1C: NO/NC 40A/30A 13.5VDC  20A/15A  27VDC
Insulation Resistance100MΩ
Dielectric Strength(Coil and Contact)500VAC/M
Ambient Temperature-40°C~+85°C
Operate/Release Time≤10ms
Release Time≤5ms
Mechanical Life1 X106
Electrical Life1 X105
Terminal TypeQC Terminal
 

 

 

Rated

voltage

(VDC)

Operate

Voltage

(VDC)

Release

voltage

(VDC)

Coil Resistance

(Ω±10%)

Parallel Resistance

(Ω±5%)

Equivalent

Resistance

(Ω±10%)

Coil Power

(W)

Maximum coil voltage

(VDC)

20 °C85°C
Standard12≤8.4≥1.2801.820.215.7
12≤8.4≥1.28068071.62.020.215.7
24≤16.8≥2.43201.840.531.5
24≤16.8≥2.432027002862.040.531.5
Low Power12≤8.4≥1.2901.620.215.7
12≤8.4≥1.29068079.51.820.215.7
24≤16.8≥2.43601.640.531.5
24≤16.8≥2.43602700317.61.840.531.5

Ordering Guide

Ordering Guide

Outline Dimensions

Outline Dimensions

Remark:  In case of no tolerance shown in outline dimension: outline dimension≤1mm, tolerance should be ±0.2mm;

Outline dimension>1mm and ≤5mm, tolerance should be ±0.3mm; outline dimension>5mm, tolerance should be ±0.4mm.

Wiring Diagram (Bottom View)

 

Get an Instant Quote Now
Quick Quote
Scroll to Top